002731,年报或被出具非标意见!将触及退市风险警示情形

家庭日常 0 5

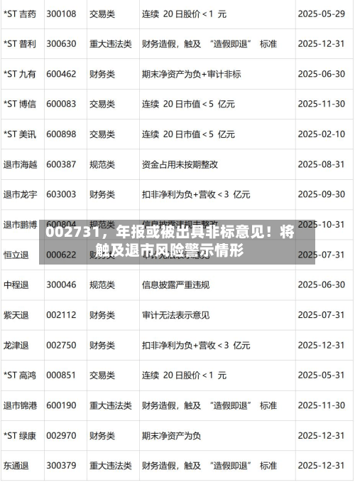
登录新浪财经APP 搜索【信披】查看更多考评等级

002731,年报或被出具非标意见!将触及退市风险警示情形-第1张图片

  炒股就看金麒麟分析师研报 ,权威 ,专业,及时,全面 ,助您挖掘潜力主题机会!

002731,年报或被出具非标意见!将触及退市风险警示情形-第2张图片

  4月17日晚间,ST萃华(维权)(002731)公告 ,公司于近日收到立信中联会计师事务所(特殊普通合伙)(以下简称“立信中联”)发来的《ST萃华2025年年审会计师对审计工作进度和审计执行情况的说明》(以下简称“《说明》 ”) 。

002731,年报或被出具非标意见!将触及退市风险警示情形-第3张图片

  据了解,ST萃华于2025年12月13日发布续聘公告(2025-083) ,聘请立信中联为2025年度年审会计师 。立信中联与ST萃华于2025年12月30日签订了2025年度审计业务约定书。按合同约定,立信中联持续推进ST萃华2025年度财务报告审计及内部控制审计的相关工作。

  根据《说明》,立信中联已完成部分现场审计工作 ,目前正全力推进后续工作 。但因部分资料未能及时获取,导致审计工作进度滞后,后续立信中联将继续努力推进 ,力争按期完成审计工作。

  关于财务报表审计执行情况的说明显示 ,2026年2月9日,ST萃华收到中国证监会下发的《立案告知书》,因公司涉嫌信息披露违法违规 ,根据相关法律法规,中国证监会决定对ST萃华立案。截至本说明出具日,ST萃华尚未收到调查结论 ,立信中联无法判断立案调查最终结果可能对ST萃华2025年财务报表的影响 。

  同时,立信中联在对ST萃华的存货监盘中发现,存货实存数量与财务报表结存数量存在重大差异。立信中联已执行监盘 、访谈等审计程序 ,但仍无法获取充分 、适当的审计证据,判断财务报表中存货科目的真实性与准确性,亦无法判断该差异对收入、成本等相关科目及对财务报表整体的影响。

  立信中联表示 ,根据ST萃华公告的重大诉讼案件,相关诉讼尚处于审理阶段 。截至本说明出具日,该所无法判断ST萃华就上述诉讼可能需要承担的预计负债的计提是否合理。同时 ,除上述已披露的诉讼事项外 ,该所也无法确定ST萃华是否存在其他未经披露的重大诉讼,以及这些事项可能对财务报表产生的影响。

  此外,由于ST萃华涉及的诉讼事项 ,导致其多个银行账户被冻结、多处房产被查封,并有大量借款逾期情况 。公司现金流紧张,已对其正常运营构成较大影响。立信中联认为 ,这些事项表明,存在可能导致对ST萃华公司持续经营能力产生重大疑虑的重大不确定性。此外,ST萃华未能提供与改善持续经营能力相关的具体计划或措施 。

  立信中联还提到 ,根据ST萃华与陈思伟的业绩补偿的约定,“若四川思特瑞锂业有限公司截至业绩承诺期末累计实现的净利润数低于业绩承诺期累计承诺净利润数的90%,则陈思伟应先生60个工作日内 ,向公司进行补偿 ” 。

  立信中联指出,基于目前财务报表,陈思伟很可能负有对上市公司进行业绩补偿的义务 ,但由于陈思伟持有的ST萃华股票被诉前保全冻结 ,其名下房产及其他股权投资也被冻结,截至目前,该所无法判断其对上市公司业绩补偿是否具有偿还能力 ,以及可能偿还的金额。

  更为关键的是,截至目前,ST萃华尚未提供与收入 、成本、其他应付款、合同负债以及合并报表等相关科目的重要审计证据 ,此情况可能导致审计范围受到限制。

  立信中联表示,以上事项很可能导致该所对ST萃华2025年财务报表出具非标准意见的审计报告 。

  关于内控审计执行情况,立信中联表示 ,ST萃华在存货管理 、大额资金进出管理、诉讼涉及争议事项的应诉流程等内部控制存在薄弱环节。以上事项将导致该所对ST萃华2025年度内部控制出具否定意见的审计报告。

  ST萃华表示,根据立信中联出具的《说明》以及深交所相关规定,如果年审会计师对公司2025年度财务报告出具无法表示意见或者否定意见的审计报告 ,公司将触及退市风险警示情形;根据深交所相关规定,如果年审会计师对公司2025年度内部控制出具否定意见的审计报告,公司将叠加实施其他风险警示的情形 。

  此前披露的业绩预告显示 ,ST萃华预计2025年实现净利润2100万元—3100万元 ,同比下降85.69%—90.31%;扣非净利润为1.62亿元—2.42亿元,同比154.81%—280.64%。

相关推荐: